
This series of valves are applicable to water, oil, natural gas and other pipelines with working pressure ≥ 1.6Mpa and working temperature ≤ 121℃. They are used to control the single and open / close of medium to prevent the reverse flow of medium.
| Design standard | — | JB/T 12235, GB/T 12224 |
|---|---|---|
| Structural length | Flanged | GB/T 12221, ANSI B16.10 |
| Structural length | Welded connection | GB/T 15188.1 |
| Flanged ends | — | GB/T 9113, JB/T 79, ANSI 16.5a |
| Butt-welding ends | — | GB/T 12224 |
| Test & inspection | — | GB/T 3927, JB/T 9092 |
| Scope of application | — | PN 10.0 ~ 42.0 MPa; DN 25 ~ 200 mm |
|---|---|---|
| Applicable temperature | — | -29 ~ 121°C |
| Applicable medium | Ordinary type | Petroleum, natural gas, readymade oil, water, etc. |
| Applicable medium | Antisulphur type | Petroleum, natural gas etc. containing H2S, CO2 |
| Connecting type | — | Flange end, welded end, keeper end |
| Driving manner | — | Manual, electric, pneumatic, etc. |

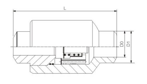
| PN (MPa) | DN (mm) | L | D0 | D1 |
|---|---|---|---|---|
| 16/20 | 25 | 180 | 22 | 42 |
| 16/20 | 32 | 200 | 29 | 54 |
| 16/20 | 40 | 230 | 36 | 60 |
| 16/20 | 50 | 260 | 45 | 73 |
| 16/20 | 65 | 290 | 58 | 89 |
| 16/20 | 80 | 340 | 72 | 108 |
| 16/20 | 100 | 400 | 90 | 133 |
| 16/20 | 125 | 550 | 115 | 159 |
| 16/20 | 150 | 600 | 135 | 192 |
| 25/35/40 | 25 | 180 | 22 | 42 |
| 25/35/40 | 32 | 200 | 29 | 56 |
| 25/35/40 | 40 | 230 | 36 | 64 |
| 25/35/40 | 50 | 260 | 45 | 76 |
| 25/35/40 | 65 | 290 | 58 | 89 |
| 25/35/40 | 80 | 340 | 72 | 114 |
| 25/35/40 | 100 | 400 | 90 | 146 |
| 25/35/40 | 125 | 550 | 115 | 159 |
| 25/35/40 | 150 | 600 | 135 | 195 |

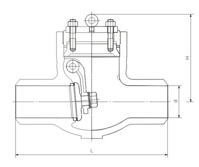
| PN (MPa) | DN (mm) | L | L1 | D0 | D1 |
|---|---|---|---|---|---|
| 16/20 | 25 | 220 | 330 | 23 | 150 |
| 16/20 | 32 | 240 | 350 | 29 | 160 |
| 16/20 | 40 | 260 | 390 | 36 | 180 |
| 16/20 | 50 | 280 | 430 | 45 | 215 |
| 16/20 | 65 | 340 | 510 | 58 | 245 |
| 16/20 | 80 | 430 | 620 | 72 | 245 |
| 16/20 | 100 | 480 | 690 | 90 | 295 |
| 16/20 | 150 | — | — | — | — |
| 25/35/40 | 25 | 220 | 350 | 23 | 150 |
| 25/35/40 | 32 | 240 | 370 | 29 | 160 |
| 25/35/40 | 40 | 260 | 420 | 36 | 180 |
| 25/35/40 | 50 | 280 | 450 | 45 | 215 |
| 25/35/40 | 65 | 340 | 520 | 58 | 245 |
| 25/35/40 | 80 | 430 | 640 | 72 | 270 |
| 25/35/40 | 100 | 480 | 710 | 90 | 310 |
High temperature and high pressure check valve is suitable for PN10.0–45.0MPa, work temperature ≤ 540℃ (For P57/170V ≤ 570℃) in the petroleum, chemical, fire power plant and other systems of the pipeline. Applicable medium: water, oil, steam, etc. Structure and features
1, reasonable structure excellent performance design, attractive appearance.
2, Static sealing of pressure self-tightening structure in middle cavity, the higher the pressure of medium is, the better the sealing performs.
3, Welding end dimension is strictly complying with JB/T3595, GB12224, also customize available.
4, Valve disc and seat sealing surface are made of stellite carbide surfacing drill base, wear-resistant, high temperature, corrosion, anti-abrasion performance and long service life.
5, High pressure and temperature components are made by high quality heat-resisting alloy with reliable security and stable performance.
| Design and Manufacture | Face to Face | Pressure-Temperature Rating | Inspection and Testing | Mark and Availability |
|---|---|---|---|---|
| JIS E101, JB/T 3595, DL/T 531 | JIS E101, JB/T 3595, GB/T 15188.1 | JIS E101, JB/T 3595 | JIS E101, JB/T 9092 | JB/T 7928, GB/T 12220 |
| Type | PN (MPa) | Shell test (MPa) | Seal test (MPa) | Suitable temperature (°C) | Suitable media |
|---|---|---|---|---|---|
| H61Y-250 | 25 | 37.5 | 27.5 | ≤425 | Water, steam, oil |
| H61Y-320 | 32 | 48 | 35.2 | ≤425 | Water, steam, oil |
| H61Y-P54140V | P54140V | 42 | 15.4 | ≤540 | Water, steam, oil |
| H61Y-P54170V | P54170V | 48 | 18.7 | ≤540 | Water, steam, oil |
| H61Y-P57170V | P57170V | 63 | 18.7 | ≤570 | Water, steam, oil |
| Type | Body | Bonnet | Disc | Seat | Packing | Suitable medium | Suitable temperature (°C) |
|---|---|---|---|---|---|---|---|
| H61Y-(320) | A105 | A105 | 2Cr13 + Stellite12 | 2Cr13 + Stellite6 | Flexible graphite | Water, steam | 425 |
| H61Y-P57(170)V | 12Cr1MoV | 12Cr1MoV | 12Cr1MoV + Stellite12 | 12Cr1MoV + Stellite6 | Flexible graphite | Steam | 570 |

H64Y–1500Lb
| Size (in) | L (mm) | d (mm) | H (mm) | Weight (kg) |
|---|---|---|---|---|
| 2-1/2 | 254 | 55 | 282 | 45 |
| 3 | 305 | 64 | 274 | 50 |
| 4 | 406 | 84 | 350 | 80 |
| 5 | 483 | 100 | 425 | 115 |
| 6 | 559 | 126 | 400 | 180 |
| 8 | 711 | 158 | 490 | 270 |
| 10 | 864 | 200 | 540 | 430 |
H64Y–2000Lb
| Size (in) | L (mm) | d (mm) | H (mm) | Weight (kg) |
|---|---|---|---|---|
| 2-1/2 | 330 | 50 | 240 | 40 |
| 3 | 368 | 60 | 305 | 60 |
| 4 | 457 | 80 | 315 | 95 |
| 5 | 533 | 96 | 409 | 170 |
| 6 | 610 | 118 | 465 | 186 |
| 8 | 762 | 147 | 528 | 415 |
| 10 | 914 | 180 | 613 | 658 |
H64Y–2500Lb
| Size (in) | L (mm) | d (mm) | H (mm) | Weight (kg) |
|---|---|---|---|---|
| 3 | 368 | 54 | 297 | 44 |
| 4 | 457 | 70 | 385 | 110 |
| 5 | 533 | 86 | 403 | 168 |
| 6 | 610 | 104 | 455 | 192 |
| 8 | 762 | 130 | 557 | 456 |
| 10 | 914 | 162 | 615 | 730 |

H61Y (Forged Self-tight)
| Nominal pressure | DN (mm) | L (mm) | D1 (mm) | H (mm) | Weight (kg) |
|---|---|---|---|---|---|
| 25 / 32 / P5414V / P5417V / P5717V | 10 | 110 | 10 | 156 | 2.5 |
| — | 15 | 150 | 14 | 200 | 8.5 |
| — | 20 | 150 | 20 | 210 | 9 |
| — | 25 | 180 | 22 | 210 | 10 |
| — | 32 | 180 | 32 | 245 | 16 |
| — | 40 | 250 | 36 | 270 | 26 |
| — | 50 | 250 / 350 | 52 | 300 | 30 |
H61Y (Steel Type)
| Model | Nominal pressure | DN (mm) | L (mm) | D1 (mm) | D2 (mm) | H (mm) | Weight (kg) |
|---|---|---|---|---|---|---|---|
| H61Y-200 | 20 | 100 | 546 | 113 | 138 | 290 | 146 |
| H61Y-320 | 32 | 125 | 559 | 124 | 171 | 440 | 511 |
| H61Y-320 | 32 | 150 | 610 | 144 | 198 | 480 | 410 |
| H61Y-200 | 20 | 175 | 750 | 187 | 222 | 500 | 510 |
| H61Y-200 | 20 | 225 | 1000 | 233 | 273 | 520 | 570 |
Step 1: Order and Design
According to customer requirements, the engineering team confirms the pressure rating, connection type, material, size, and sealing requirements of the high pressure check valve. Then detailed drawings and machining tolerances are prepared to ensure the valve is suitable for high-pressure working conditions.

Step 2: Forging & Casting
The main body, bonnet, and internal parts are produced by forging or precision casting based on the material specification. For a high pressure check valve, forged material is often preferred because it provides better strength, pressure resistance, and structural reliability.

Step 3: Machining
After raw material inspection, all components are machined by CNC lathes, drilling machines, and threading equipment. The valve body cavity, sealing surface, thread ends, and internal flow passages of the high pressure check valve are processed with high precision to meet assembly and pressure performance requirements.

Step 4: Assembly
After cleaning and dimensional inspection, the valve body, spring, poppet, seat, and seals are assembled according to the technical drawing. During assembly of the high pressure check valve, special attention is paid to sealing accuracy, spring force, and the smooth movement of internal components.

Step 5: Testing & Quality Assurance
Each high pressure check valve undergoes pressure testing, leakage testing, sealing inspection, and functional testing before delivery. Quality control also includes dimensional checks, material traceability, and appearance inspection to ensure the valve meets customer and industry standards.

Step 6: Painting and Finishing
After final inspection, the external surface is cleaned, marked, and treated if required. The valve is then packed with product labels, pressure information, and batch traceability details to ensure safe shipment and easy identification.

High pressure check valves are widely used in industries such as petroleum, chemical engineering, water conservancy, power, and metallurgy, especially in high-pressure transmission pipelines. They can effectively prevent the backflow and reflux of media, ensuring the safe operation of the pipeline system.
In conclusion, the high pressure check valve is a very practical valve with advantages such as simple structure, convenient operation, and high safety and reliability. As long as it is used and maintained correctly, it can fully exert its function and ensure the normal operation of the pipeline system.
These valves are widely used in:

Oil and Gas

Chemical Processing

Power Plants

Water Treatment

Metallurgy and Mining

Agriculture and Irrigation






Superior Quality

Our valves are manufactured using premium materials and undergo rigorous quality testing to ensure reliable performance in demanding industrial applications.
Advanced Technology

Equipped with state-of-the-art CNC machining centers and precision manufacturing equipment, we deliver valves with exceptional accuracy and consistency.
Competitive Pricing

Through optimized manufacturing processes and bulk material procurement, we offer high-quality valves at competitive prices without compromising on quality.
Expert Support

Our experienced technical team provides comprehensive support from product selection to after-sales service, ensuring optimal valve performance for your specific application.
Request a Quote