
| Category | Item | Specification | Standard |
|---|---|---|---|
| Design and Manufacture | Design and Manufacture | JB/T10529 | |
| Design and Manufacture | Connection End | Face to Face | Manufacturer Standard |
| Design and Manufacture | Connection End | Flange End | GB/T9113 |
| Inspection & Test | Inspection & Test | JB/T9092 | |
| Inspection & Test | Mark | GB/T12220 | |
| Inspection & Test | Delivery | GB/T12252 |
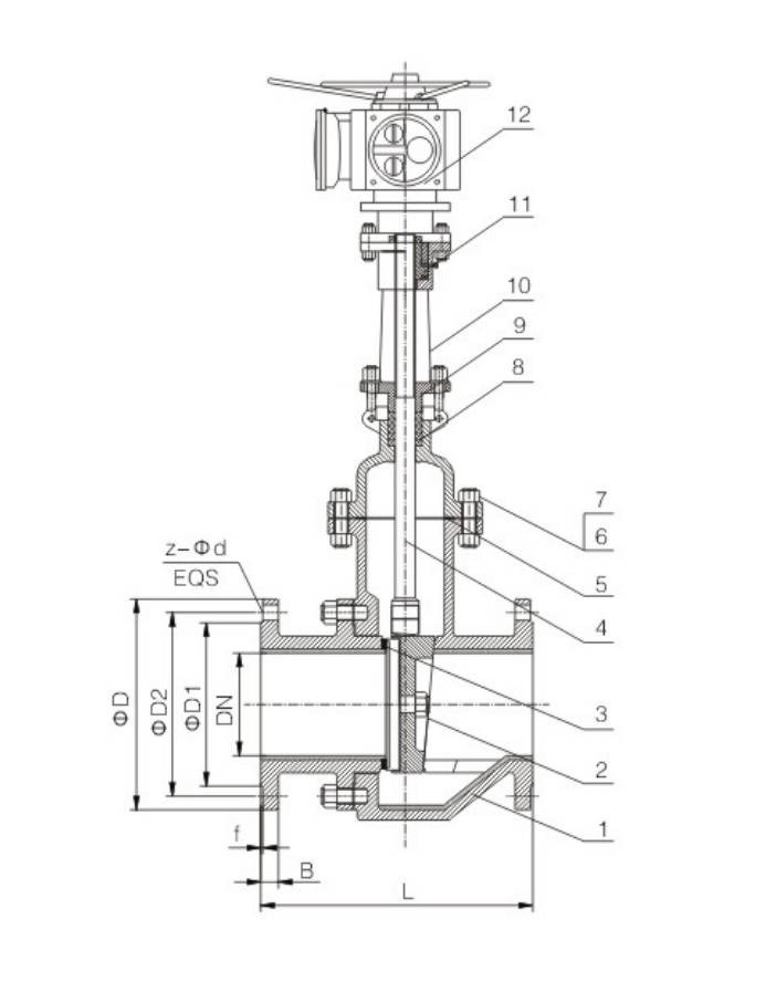
| No. | Name | Material |
|---|---|---|
| 1 | Body | WCB + Engineering ceramic |
| 2 | Disc | WCB + Engineering ceramic |
| 3 | Seat | Engineering ceramic |
| 4 | Stem | 2Cr13 |
| 5 | Middle Gasket | Graphite composite gasket |
| 6 | Stud | 35CrMo |
| 7 | Nut | 45# |
| 8 | Packing | Graphite Packing |
| 9 | Packing Gland | WCB |
| 10 | Yoke | WCB |
| 11 | Stem Nut | Copper alloy |
| 12 | Electric Actuator | Copper alloy |
| DN | L | PN10 D | PN10 D1 | PN10 D2 | PN10 B | PN10 f | PN10 Z-d | PN16 D | PN16 D1 | PN16 D2 | PN16 B | PN16 f | PN16 Z-d |
|---|---|---|---|---|---|---|---|---|---|---|---|---|---|
| 50 | 250 | 165 | 125 | 102 | 18 | 3 | 4-18 | 165 | 125 | 102 | 20 | 3 | 4-18 |
| 80 | 280 | 200 | 160 | 138 | 20 | 3 | 8-18 | 200 | 160 | 138 | 20 | 3 | 8-18 |
| 100 | 300 | 220 | 180 | 158 | 20 | 3 | 8-18 | 220 | 180 | 158 | 22 | 3 | 8-18 |
| 125 | 325 | 250 | 210 | 188 | 22 | 3 | 8-18 | 250 | 210 | 188 | 22 | 3 | 8-18 |
| 150 | 350 | 285 | 240 | 212 | 22 | 3 | 8-22 | 285 | 240 | 212 | 22 | 3 | 8-22 |
| 200 | 400 | 340 | 295 | 268 | 24 | 3 | 8-22 | 340 | 295 | 268 | 24 | 3 | 12-22 |
| 250 | 450 | 395 | 350 | 320 | 26 | 3 | 12-22 | 405 | 355 | 320 | 26 | 3 | 12-26 |
| 300 | 500 | 445 | 400 | 370 | 26 | 4 | 12-22 | 460 | 410 | 378 | 28 | 4 | 12-26 |
| 350 | 550 | 505 | 460 | 430 | 26 | 4 | 16-22 | 520 | 470 | 438 | 30 | 4 | 16-26 |
| 400 | 600 | 565 | 515 | 482 | 26 | 4 | 16-26 | 580 | 525 | 490 | 32 | 4 | 16-30 |

Step 1: Order and Design
According to the customer’s working conditions, pressure rating, size, medium characteristics and temperature requirements, the electric ceramic slag valve is designed and confirmed. Drawings, ceramic lining structure, actuator specifications and material selections are finalized before production.

Step 2: Forging & Casting
The valve body, bonnet and other main pressure-bearing parts of the electric ceramic slag valve are produced by casting or forging according to the design requirements. Raw materials are inspected to ensure strength, density and internal quality meet manufacturing standards.

Step 3: Machining
All key components are machined with precision equipment, including body cavity, flange faces, stem connection parts and sealing areas. For the electric ceramic slag valve, machining accuracy is especially important to ensure proper fitting of ceramic parts and smooth valve operation.

Step 4: Assembly
After machining, the valve body, ceramic lining, gate/disc, stem, seals and electric actuator are assembled in sequence. During assembly of the electric ceramic slag valve, special attention is paid to the installation accuracy of ceramic components and actuator alignment.

Step 5: Testing & Quality Assurance
Each electric ceramic slag valve undergoes strict inspection and testing, including pressure test, sealing test, actuator operation test and overall performance check. This step ensures the valve has reliable wear resistance, sealing performance and operational stability.

Step 6: Painting and Finishing
After passing all inspections, the valve surface is cleaned, painted and marked. Final finishing of the electric ceramic slag valve includes nameplate installation, packaging inspection and preparation for shipment.

These valves are widely used in:

Oil and Gas

Chemical Processing

Power Plants

Water Treatment

Metallurgy and Mining

Agriculture and Irrigation






Superior Quality

Our valves are manufactured using premium materials and undergo rigorous quality testing to ensure reliable performance in demanding industrial applications.
Advanced Technology

Equipped with state-of-the-art CNC machining centers and precision manufacturing equipment, we deliver valves with exceptional accuracy and consistency.
Competitive Pricing

Through optimized manufacturing processes and bulk material procurement, we offer high-quality valves at competitive prices without compromising on quality.
Expert Support

Our experienced technical team provides comprehensive support from product selection to after-sales service, ensuring optimal valve performance for your specific application.
Request a Quote